前 言
为了更好地服务广大师生员工,帮助解决师生报账政策上的一些困惑,近期,学校财务依据相关国家法律法规、政府规章制度和学校内控制度,结合我校财务实际情况,对广大师生财务报账过程中的疑点难点问题和常用财务知识进行了归纳整理,特编写了《财务常见问题百问百答》(以下简称《问答》)。
《问答》分经费预算、报销核算、财务智慧管理平台、人员经费代发、个人所得税、票据/科研经费入账、公务卡、字模/明细账打印等八个部分。
如遇政策调整,以最新文件、制度为准。
因篇幅有限,《问答》文字未尽事宜,均以相关文件、制度为准。
落实“放管服”,财务在行动。欢迎大家提出宝贵意见和建议,感谢广大师生员工长期以来对财务工作的关心、支持和理解。
湖南师范大学财务处
2021年05月20日
5.上级财政、教育等部门通过指标文件形式安排的专项经费如何下拨? 8
8.经济业务金额多少万以上必须签订合同?合同金额多少万需要校领导签字? 10
11.出差期间产生的打印费发票,钱是算在其他费用里面吗?如果在长沙打印的,钱已经支付给对方,怎么贴票? 12
14.请国外教授来师大做报告,帮他报销机票,北京-长沙往返,其中返程是公务舱,请问能够报销吗? 12
15.网上订购机票报销需要哪些附件?在境内机构购买国际航空客票时,对方只提供了A4纸打印的行程单能够报销吗? 13
⑵不能报销。国际航空客票销售部门在境内销售国际航空客票时,应通过中国民用航空局许可的机票分销系统,按照实收金额使用统一的打印软件向旅客开具《行程单》或者出具注明行程信息的增值税发票。 13
在境外机构购买国际航空客票时,对方提供的是A4纸打印的行程单,和登机牌一起可以做为报销凭证。 14
16.假设ABCD都是其他人员,每人的标准为450元,出差时房间数量3间,每间500元,请问是否超标? 14
17.报销差旅费时,住宿发票金额和支付凭证金额不相等该如何处理? 14
24.以个人名义到税务局代开的设计、摄像等劳务费发票和租车、租房等财产租赁费发票还需要代扣个人所得税吗?此类发票报销时需要注意些什么? 15
25.8字开头的社科青年学术骨干培养经费里面是不是没有子项目?这种经费报销需要什么条件吗? 16
26.哪些业务需刷公务卡方可报销?我校公务卡使用的适用范围是什么? 16
28.委托他人付款购买,但报销费用需转入委托人账户可以吗? 17
30.科研课题经费中如何报销人员经费?(详见《湖南师范大学人员经费发放系统操作手册》https://cwc.hunnu.edu.cn/info/1105/1662.htm 17
39.科研课题经费审核子预算有哪些常见问题或注意事项? 21
答:详见《科研经费报销注意事项》https://cwc.hunnu.edu.cn/info/1105/1632.htm。 21
42.本院教师参加论文开题、论文预审、论文答辩可发放劳务费吗? 22
答:不可以。因公到常驻地以外出差可报销住宿费。市内开会根据会议通知凭票报销市内短交费,会务费。 22
46.如果同行的是学校的一名老师,职称是教授,这样的情况可以算专家么? 22
49.科研经费里给在校学生发劳务费走哪个小预算?校外人员可以发放绩效吗? 23
53.学生暑期社会实践的补助标准和实习补助标准是一样的吗? 23
55.使用支付宝微信等移动支付方式付款时需要注意什么? 24
答:①在经费项目中预借餐卡充值款,转账至校一卡通账户充值。 24
②在信息化办打印餐卡充值、结算明细表,并由信息化办签字盖章。 24
③信息化办签字盖章的明细表(视同结算票据),随培训班其他票据一起,按培训报账的要求,办理签批手续后报销,并冲抵前期餐卡充值借款。 24
答:①劳务派遣公司开具发票:①单位自筹经费支付的,按部门经费审批流程签字、盖章。②学校经费支付的,除用人单位签章外,还需人事处主管领导、劳资科、社保科、职工培训交流中心签字、盖章。 24
2020年7月1日之前签订劳务派遣协议的需提供劳务派遣协议(有指定派遣人员姓名)或提供上岗协议(需人事处职工培训交流中心签字盖章); 25
2020年7月1日起签订劳务派遣协议的,需提交《湖南师范大学劳务派遣用工人员名单确认表》,此表上需加盖劳务派遣公司、二级单位、人事处公章,并有各自授权代表、人事处主管领导签字。 25
③ 酬劳发放明细表(劳务派遣公司提供,派遣公司、用工单位签字盖章) 25
答:需提供资料如下:①财务“收入申报”系统录制的发放表。②资发放明细表(非全职日制、劳务协议人员不用提供此表)。 25
答:原则上不可以预发,只能按月发放,可以延迟发放。寒、暑假财务处业务值班均可处理工资发放业务。 25
答:视频制作协议;竞赛用视频制作还须附参赛通知;线上课程的视频制作还需附教学计划。 26
3.银行代码中查不到“东莞农村商业银行股份有限公司常平支行”? 26
4.在银行代码查询中找不到湖南湘江新区农村商业银行股份有限公司? 27
5.填写网报单时,现在结算方式是不是只有对公和对私两种选项?两者有什么分别呢?如果是打到公务卡是选对私吗? 27
6.填写网报单时,本校在职人员和本校在读学生的银行信息需手工录入吗? 27
17.新系统里别人给的授权在哪里可以查?如何查询被授权项目余额、明细账? 30
21.报销一个事项,须从多个资金来源列支,如何做报销单?系统里“我的汇总单”状态显示“手工制单”时,如何查询凭证号码? 33
22.报账老师因预约报账日临时有事,无法按时前来,可以重新预约吗? 33
23.报账老师已经预约助理送单报账,出现以下情况需要取消送审怎么办:a、发现约错了助理;b、发现还有手续未完成;c、票据有问题不再报销? 34
26.报账老师反映,在我的汇总单中删除了一个单号,但是在申请汇总单仍旧出现删除的申请单,导致项目经费中的指标无法退回,这是什么原因,要怎么解决? 36
27.填写申请单选择报销类型为受托项目或教材费伙食费等类型(见图二十六),再选择部门项目号时,界面显示粉色并提示“在费用类别经济科目“900/”下不可选(见图二十七),是怎么回事? 36
28.有老师打电话反映,极简报销系统里他的项目不见了?该怎么办? 37
29.极简报销系统录入银行信息时,如果名字中包含一个点(例如”****提·**塔尔”)该怎么录入? 38
3.一次报销多名老师绩效,绩效表是不是需要每个老师填一张? 40
4.人员经费代发可以使用公务员卡吗?境外卡可以使用吗? 40
4.居民个人综合所得包括哪些内容?税率及计算公式是什么? 41
5.居民个人综合所得的“收入额”包括哪些内容?减除费用包括哪些? 42
12.非居民(如未与学校签订合同,由学院、各部门自行聘请的临时性外教)的特殊人员如何计税? 47
14.自然人出租不动产的政策规定是什么?有什么优惠政策? 48
http://cwc.hunnu.edu.cn/ActionArticle!display.action?articleId=247 54
http://cwc.hunnu.edu.cn/ActionArticle!display.action?articleId=227 54
https://cwc.hunnu.edu.cn/info/1177/1862.htm 54
答:新办公务卡的教职工应携带身份证与公务卡及时到财务处结算科进行公务卡确认,公务卡信息通过国库支付系统确认后方可进行报账。 55
财务常见问题百问百答
答:校内预算专项持学校审批的书面报告,财政拨款专项持财政拨款文件→出具单位(个人)书面申请→预算管理科下拨指标。
答:二级单位如遇特殊情况需提前使用经费,需在“预算核算群”下载并填好《红字审批单》,同时准备该经费的相关收入证明材料→二级单位负责人审核盖章→送财务处预算管理科审核→财务处处长签批→预算管理科开通红字。
答:每年(或月),财务处收费科等报送学校二级单位各类各层次办学收费收入情况→预算管理科进行逐一核对并按学校规定的分配比例对各类收入进行分配并下拨经费。
答:先去结算科索取银行回单→交会计科进行账务处理→向预算科提交经二级单位负责人签字并加盖公章的申请下拨经费的书面报告(同类经费可合并下拨)→预算管理科核实经费来源及到账情况后,按学校相关规定下拨经费。
5.上级财政、教育等部门通过指标文件形式安排的专项经费如何下拨?
答:二级单位向财务处预算管理科提供财政部门经费指标文件和经本单位负责人签字并加盖公章的申请下拨经费的书面报告→预算管理科核实财政、教育等部门确已将经费下拨至我校后,按专项经费管理要求下拨经费。
答:每年度,财务预算经党委会审定后,预算管理科及时将各类常用经费下拨至各二级单位;凡注明“专项审批下拨”的经费项目,二级单位需按规定完成审批程序→提交签呈原件,预算管理科据此下拨经费。
答:校内预算申报完毕,在报党委会审定前,二级单位若需增加预算项目,需向财务处预算管理科提交相关的校长办公会或党委会纪要,以及经二级单位负责人签字并加盖公章的纸质报告→预算管理科根据相关纪要或文件增加预算项目;若需修改预算项目,需向财务处预算管理科提交经二级单位负责人签字并加盖公章的纸质报告→预算管理科根据相关报告或文件修改预算项目。
答:在每年度规定时间内,二级单位应及时、准确地在网上按要求申报本部门经费预算(校长办公会或党委会等决定的新增项目,请务必通过预算申报系统上传相关纪要内容),并同时报送部门领导签字并加盖公章的“单位预算表”→预算管理科审核。
答:湖南师范大学,银行账号:584674799797 ,开户行:中国银行长沙市湖南师范大学支行,纳税登记号:12430000444875043T,营业地址:湖南省长沙市岳麓区麓山路36号,电话:0731-88872241。湖南师范大学企业名片(税号、账号)-信息公开-湖南师范大学财务处 https://cwc.hunnu.edu.cn/info/1175/1562.htm
答:①发票抬头应为“湖南师范大学”,纳税人识别号:12430000444875043T。发票抬头为其他单位或个人、空白等均不得报销。收款单位与开具发票单位不一致时,不予报销。
②票据内容不能擅自添加、涂改,合计金额须计算准确,大小写一致,不得涂改、挖补。发票记载的各项内容应当清晰、明了,应详细开具品名、数量、单价、金额。因货物较多无法一一列明的,需附上供货单位开票系统出具的“销售货物或者提供应税劳务、服务清单”。
③发票或收据上方须印有税务或财政部门的监制章,发票或收据上须盖有开票单位的发票专用章或财务专用章。(税务局代开的增值税普通发票,只须加盖税务局业务专用章,代开的增值税专票,还须加盖公司发票专用章)。税务代开发票,收款方为个人的需附身份证复印件、电话及收款证明。
④发票或收据要求真实、合法、准确和完整,不得填开与实际交易不符的内容。不得虚开发票套取现金。发票的真伪可通过税务局网站进行查询。虚开、制造、使用假发票等违反发票管理法规行为的,可依照《中华人民共和国发票管理办法》追究责任。
答:增值税专用发票报账时,除提供此联发票联外还须提供绿色的抵扣联。
答:有。为确保会计信息的及时性和准确性,请各位老师务必及时报销财务票据。本年度发生的事项所开具的票据,原则上当年应报销完毕,对于本年度12月所发生的事项开具的票据,未能在本年度报销的,要求在下年度第一个季度底之前全部报销完毕。除出国无法回校报销、经费推迟下拨等特殊情况以外,过期票据一律不予报销。
因“忘记报销、发票才找到”等原因造成发票过期,一律不予报销。
答:根据财政部关于印发《会计基础工作规范》的通知,财会字[1996]19号,第五十五条第(五)点从外单位取得的原始凭证如有遗失,应当取得原开出单位盖有公章的证明,并注明原来凭证的号码、金额和内容等,由经办单位会计机构负责人、会计主管人员和单位领导人批准后,才能代作原始凭证。如果确实无法取得证明的,如火车、轮船、飞机票等凭证,由当事人写出详细情况,由经办单位会计机构负责人、会计主管人员和单位领导人批准后,代作原始凭证。
答:汽油票、定额票、邮寄费等小面积发票需贴粘贴单。贴票要规范,贴票的时候不要超过粘贴单的右边边缘,用胶水不要用固体胶或者双面胶,更不要使用订书钉,要保证每一张票都贴在粘贴单上,不要把票面金额贴掉,机票不需要粘贴(可在湖南师范大学财务处网站下载,一般报销模板-下载中心-湖南师范大学财务处https://cwc.hunnu.edu.cn/info/1177/1474.htm。
答:依照湖南省财政厅关于印发《湖南省2021年省级政府集中采购目录及政府采购限额标准》的通知https://cwc.hunnu.edu.cn/info/1097/1845.htm ,2021年省级政府采购限额标准为:货物项目采购预算金额50万元以上;服务项目采购预算金额80万元以上;工程项目采购预算金额100万元以上。
凡是政府采购项目,报账时附政府采购合同(首次报账需合同原件),并请财务处出纳科审核纸质合同与国库集中支付系统合同备案信息库是否一致。
8.经济业务金额多少万以上必须签订合同?合同金额多少万需要校领导签字?
答:人民币2万元以上(含2万元)需签订合同,加盖“湖南师范大学合同专用章”。合同按内容有不同的审批签署权限,具体如下:
湖南师范大学经济合同管理试行办法
凡以学校名义对外发生权利义务关系的事项,达到2万元(含2万元)以上都应当订立书面合同。
|
|||
合同金额 |
签署权限 |
||
行政综合类(含图书采购、办公用品采购、后勤食品采购、承办会议、维修等)合同 |
5万元以内 |
由校长授权项目主持单位主要负责人签署 |
|
5万元至50万元(含50万元) |
由校长授权分管校领导签署 |
||
50万元以上 |
校长签署 |
||
学校在融资和对外投资过程中签订的中长期合同、联合办学合同、联合经营合同、资产转让和处置、基础建设等重大合同 |
报请党委会或校长办公会决定,相应合同文本经审核会签后,由校长签署 |
||
基建类(含勘察、设计、造价咨询、施工、监理、检测等)合同 |
20万元以内 |
由校长授权项目主持单位主要负责人审批签署 |
|
20万元至100万元 |
由校长授权分管校领导审批签署 |
||
100万元以上 |
由校长审批签署 |
||
教学科研物资类采购合同 |
10万元以内 |
由校长授权固定资产管理处主要负责人审批签署 |
|
10万元至50万元 |
由校长授权分管校领导审批签署 |
||
50万元以上 |
由校长审批签署 |
||
科研科技协作技术类合同 |
以学校为委托方的科研科技协作技术类合同 |
5万元以内 |
由校长授权科技处或社科处主要负责人审批签署 |
5万元至50万元(含50万元) |
由校长授权分管校领导审批签署 |
||
50万元以上 |
由校长审批签署 |
||
以政府或行政事业单位为委托方,学校为受托方的科研科技协作技术类合同 |
50万元以内 |
校长授权科技处或社科处主要负责人审批签署 |
|
50万元以上 |
由校长授权分管校领导审批签署 |
||
其他各类科研科技协作技术类合同 |
10万元以内 |
校长授权科技处或社科处主要负责人审批签署 |
|
10万元以上 |
由校长授权分管校领导审批签署。 |
||
《湖南师范大学经济合同管理试行办法》-校内规章制度>其它-湖南师范大学财务处https://cwc.hunnu.edu.cn/info/1096/1249.htm
答:依照《湖南师范大学经济合同管理试行办法》规定(《湖南师范大学经济合同管理试行办法》-校内规章制度>其它-湖南师范大学财务处
https://cwc.hunnu.edu.cn/info/1096/1249.htm需签订合同的经济业务,报销时,需对公转账、提供合同原件(若为借款,则借款时出具合同复印件、冲账时再出具合同原件)。如需分期付款,首次付款时请提供原件,以后付款时提供复印件,复印件上注明原件存财务处某年某月凭证号(或者某年某月网报单号)后。
答:⑴附件要求:
差旅费须成套报销,无法构成完整来回的差旅,包括火车票/飞机票/过路过桥票等,原则上不得报销,特殊情况须写明具体理由。要求如下:
①参加会议、培训,附会议通知或培训通知;
②外地出差发生的交通、住宿、购物等相关开支必须一同报销。住宿,购物等开支,必须附公务卡刷卡小票;
③报销学生或临时工差旅费,如老师已垫付需附学生或临时工身份证复印件并在复印件上写明“某某老师已垫付差旅费及补助”,可转入老师卡中。特殊情况需给予学生或临时工补助的,须项目负责人写明“同意给予补助”。
常见问题或注意事项:差旅费报销单填写不完整,比如事由就“调研”二字,要写明在某地方做了什么,调研内容,有同行人的话,要写明同行人的信息(单位及职称)
⑵补助说明:
①报销差旅费无住宿发票的,仅提供在途期间的补助;
②出席会议产生的差旅,会议通知上写明“食宿统一安排”,只给在途期间补助;当会议通知对食宿安排不明确或理解有歧义时,如需申请补助,填写情况说明单,项目负责人签字;
常见问题或注意事项:出差调研时,无住宿费发票,由朋友或亲戚提供住宿,伙食费自理,需申请伙食补助的,须提供对方身份证复印件,并由对方在复印件上写明“本人仅提供住宿()天、伙食费自理”。否则参照“补助说明第①条”执行。
11.出差期间产生的打印费发票,钱是算在其他费用里面吗?如果在长沙打印的,钱已经支付给对方,怎么贴票?
答:①大于手掌的票不用贴;②出差时打印费跟出差费一起报,但不用填在差旅费报销单里,在网报单里体现,在可以报销打印费的子预算中开支。
答:城市不同,标准不同。具体标准见《湖南师范大学差旅费管理办法》,关于印发《湖南师范大学差旅费管理办法》的通知-校内规章制度>核算-湖南师范大学财务处https://cwc.hunnu.edu.cn/info/1096/1235.htm
答:湖南省财政厅《关于明确省直党政机关公务活动用餐有关事项的通知》规定:在长省直单位常驻地指芙蓉区、天心区、岳麓区、开福区、雨花区、望城区(乡镇除外)、长沙县城(星沙街道、泉塘街道、湘龙街道范围内)。因此长沙县算市内,宁乡县算长途。
14.请国外教授来师大做报告,帮他报销机票,北京-长沙往返,其中返程是公务舱,请问能够报销吗?
答:《湖南省省直机关外宾接待经费管理办法》规定:(三)外宾赴市州访问时,应当按级别乘坐相应等级标准交通工具,副部长级及以上外宾可提供飞机头等舱、轮船一等舱和火车软席(含高铁/动车商务座、全列软席列车一等座、火车高级软卧),其他人员可提供飞机经济舱、轮船二等舱和火车软席(含高铁/动车一等座、全列软席列车一等座、火车软卧)。确因工作需要并经接待单位领导批准,外方主宾的重要随行人员可随主宾乘坐相应舱位;原则上按随行不超过1人来安排。
《湖南师范大学差旅费管理办法》规定如下:
出差人员乘坐交通工具等级标准
人员类别 |
火车(含高铁、动车、全列软席列车) |
轮船(不含旅游船) |
飞机 |
其他交通 工具 |
省部级、院士及相当职务人员 |
火车软席(软座、软卧)、高铁/动车商务座一等座、全列软席列车一等软座 |
一等舱 |
头等舱 公务舱 |
凭据报销 |
厅局级、正高级职称及相当职务人员 |
火车软席(软座、软卧)、高铁/动车一等座、全列软席列车一等软座 |
二等舱 |
经济舱 |
凭据报销 |
其余人员 |
火车硬席(硬座、硬卧),高铁/动车二等座,全列软席列车二等软座 |
三等舱 |
经济舱 |
凭据报销 |
邀请的外宾如非省部级、院士及相当职务人员,则只能乘坐经济舱,超支部分由个人自理。
《湖南省省直机关外宾接待经费管理办法》-政府规章制度>核算-湖南师范大学财务https://cwc.hunnu.edu.cn/info/1097/1208.htm
《湖南师范大学差旅费管理办法》-校内规章制度>核算-湖南师范大学财务处 https://cwc.hunnu.edu.cn/info/1096/1235.htm
15.网上订购机票报销需要哪些附件?在境内机构购买国际航空客票时,对方只提供了A4纸打印的行程单能够报销吗?
答:⑴网上订购机票报销所需附件详见下表:
机票票据类别 |
票据原件 |
订票记录(可以看到乘机人、航班日期、航班号、价格) |
登机牌原件 |
蓝色客票行程单 |
√ |
√ |
|
增值税电子发票 |
√ |
√ |
√ |
增值税普通发票 |
√ |
√ |
|
国际航班A4行程单 |
√ |
√ |
√ |
⑵不能报销。国际航空客票销售部门在境内销售国际航空客票时,应通过中国民用航空局许可的机票分销系统,按照实收金额使用统一的打印软件向旅客开具《行程单》或者出具注明行程信息的增值税发票。
在境外机构购买国际航空客票时,对方提供的是A4纸打印的行程单,和登机牌一起可以做为报销凭证。
16.假设ABCD都是其他人员,每人的标准为450元,出差时房间数量3间,每间500元,请问是否超标?
答:首先标准金额乘以人员,接着房间数量乘以价格,如果后面的没超过前面的数据就没超标。
17.报销差旅费时,住宿发票金额和支付凭证金额不相等该如何处理?
答:住宿发票金额小于付款凭证金额的,以住宿发票金额为准;住宿发票金额大于付款凭证金额的,按付款凭证金额实报。
答:助教职称参照其他人员标准计算。
答:(一)各二级单位图书购置专项经费、重点学科经费购买的各类图书资料,须在学校图书馆验收登记、签批及盖章后方可报账,学院分发到个人的教材,报账时须附领用人员名单(自制)。
(二)科研经费及其他个人经费购买的各类图书资料,一次购买5000元以下的需在单位资料室验收登记及盖章后方可报账;5000元以上(含5000元)的,须到学校图书馆验收登记及签批、盖章后方可报账。
(三)图书须附详细清单或订单截图。
20.电子图书属于数字资源吗,该如何报销?
答:属于,数字资源报账流程:一次购买5000元以下的需在单位资料室验收登记及盖章后方可报账;5000元以上(含5000元)的,须到学校图书馆(211室,姚晓慧老师)验收登记及签批、盖章后方可报账。
答:期刊不用,资料室验收即可。
答:检测费发票需要列明具体检测项目。
答:如果是为了净化空气,可以在事业经费的其他预算里按标准报销,写明理由。
24.以个人名义到税务局代开的设计、摄像等劳务费发票和租车、租房等财产租赁费发票还需要代扣个人所得税吗?此类发票报销时需要注意些什么?
答:⑴根据2019年1月《国家税务总局湖南省税务局关于进一步深化“放管服”改革的通知》(湘税发[2019]1号)中第十一条“进一步规范纳税人申请代开发票环节税费征收规定。除代开货运发票的个人所得税纳税人统一按开票金额的1.5%预征个人所得税(国家税务总局公告2011年第44号)外,2019年2月1日起,个人合伙企业、个人独资企业、个体工商户及自然人在申请代开发票环节,税务机关只对增值税、消费税、城市维护建设税、教育费附加、地方教育附加等5个税费种征收相应税费,其他税费种由纳税人按有关规定自行申报缴纳。”的要求,从2019年2月1日起,税务局代开个人劳务费、财产租赁费等发票时不再预缴个人所得税,报销单位须代扣代缴个人所得税。
⑵此类发票报销时须进收入申报系统录入发放表代扣代缴所得税,发放类别与发放项目的选择说明见“图一”,代扣代缴个人所得税计算公式(应发数=票面金额合计-已交税金)见“图二”:
发放类别 |
发放项目 |
说 明 |
日常劳务 |
个人代开劳务类发票 |
1. 个人代开的维修、设计、摄像等劳务费发票。2.使用此项目时经费项目必须选择虚拟部门。3.不能交至发放表报销窗口,还需在极简报销中做报销单和预约并按预约时间至财务处报销。 |
个人出租住房租赁所得 |
个人代开出租住房类发票 |
1.个人代开的房屋出租发票需提供租房合同。2.使用此项目时经费项目必须选择虚拟部门。3.不能交至发放表报销窗口,还需在极简报销中做报销单和预约并按预约时间至财务处报销。 |
其他财产租赁所得 |
个人代开租车等财产租赁类发票 |
1.个人代开的租车费等财产租赁所得发票。2.使用此项目时经费项目必须选择虚拟部门。3.不能交至发放表报销窗口,还需在极简报销中做报销单和预约并按预约时间至财务处报销。 |
图一
图二
举例说明:财务处付王某租车费
收入发放表应发数=6000—180.88=5819.12元
实际支付给王某的租车费数额=6000-931.06=5068.94元
⑶此类发票报销时还需要注意以下几点:
发票上的付款方名称:湖南师范大学,社会信用代码:12430000444875043T;收款方名称为提供劳务或提供租赁服务的收款人姓名(切记不要与报销人混淆);以个人名义到税务局代开的发票,报销时须附收款人身份证复印件。
⑷根据税法规定,个人销售的经营所得属于自行纳税申报,不涉及扣缴行为,不由我校代扣代缴个税,例如个体工商户销售货物以个人名义代开发票,报销时附收款人身份证复印件无需录入发放表。
25.8字开头的社科青年学术骨干培养经费里面是不是没有子项目?这种经费报销需要什么条件吗?
答:没有子项目的按照真实报销事项报销,有子项目的按照子项目要求报销。
26.哪些业务需刷公务卡方可报销?我校公务卡使用的适用范围是什么?
答:为进一步深化国库集中支付制度改革,方便预算单位用款,减少现金结算,提高支付透明度,加强预算执行监控管理,依照《中央预算单位公务卡管理暂行办法》,公务开支须刷公务卡或对公转账,报账时须附公务卡刷卡小票。
最新公务卡规则调整如下:
(1)按新的业务标准公务卡业务必须要求消费明细
(2)在公务卡强制结算目录中,对于现金业务、向个人付款且非公务卡支付业务的,5万元(含)以下,暂时进行提示,由单位自行审核把控;5万以上的必须上传附件,同时财政需要拦截审核。
公务卡强制结算目录包含:经济分类科目“30201 办公费,30202 印刷费,30203 咨询费,30204 手续费,30205 水费,30206 电费,30207 邮电费,30209 物业管理费,30211 差旅费,30213 维修(护)费,30214 租赁费,30215 会议费,30216 培训费,30217 公务接待费,30218 专用材料费,30231 公务用车运行维护费,30239 其他交通费用,30299 其他商品和服务支出”。
答:网购、邮购货物报账时需附原始发货清单或订单信息截图以及付款记录单据(网上支付的可打印页面截屏)。
答:委托他人付款购买,如报销费用需转入委托人账户,需提供受托人身份证复印件、注明同意将所报销费用打入委托人公务卡上,或者提供委托人已转账给受托人转账记录等直接相关证明。否则,财务处只能付款至实际付款人账户或合同、发票备注收款单位账号。
答:凡是购买的物品用于发放给个人的如书籍、发给数据采集对象的办公用品、服装,报账时须提供领用名单。
30.科研课题经费中如何报销人员经费?(详见《湖南师范大学人员经费发放系统操作手册》https://cwc.hunnu.edu.cn/info/1105/1662.htm
答:1报销的士票必须填写短途交通报销单按报销单内容逐条据实填写明细记录https://cwc.hunnu.edu.cn/info/1177/1492.htm;②报销租车费须提供租车清单(包括租车单位、车牌号、乘车人员名单、目的地和事由等);报销网约车费须提供网约车系统出具的行程单,并在行程单上逐条据实填列事由。
常见问题或注意事项:1、客运服务费没有写事由;2、不能只写“调研”“学术交流”几个字,应写明具体事情,或者调研内容;3、事由写“上班、下班、回家”等理由短交费,不予报销。科研经费只报销与科研活动有关的短交费。
32.汽油票还能报销吗?
答:除科研项目经费外,其他经费自《湖南师范大学公务交通经费管理办法》(校行发财字【2020】1号)发布之日起(2020年1月16日),不再报销私车公用汽油费发票,因公租赁车辆的,凭审批过的《湖南师范大学公务交通费用申请及结算单》和正规发票据实报销,租赁车每公里的单价费用不能高于学校同类公车的单价费用。
湖南师范大学运输中心市内常用地点收费标准及算法(仅供参考) |
||||||||||
序号 |
地点 |
起步价(元) |
往返实际公里(KM) |
公里单价(元) |
小计(元) |
总价(起步+公里价) |
||||
小轿车 |
商务车 |
小轿车 |
商务车 |
小轿车 |
商务车 |
小轿车 |
商务车 |
|||
1 |
机 场 |
70 |
3.50 |
5.00 |
245 |
350 |
||||
2 |
高铁站 |
50 |
80 |
40 |
4.00 |
5.00 |
160 |
200 |
210 |
280 |
3 |
省 委 |
50 |
80 |
20 |
4.00 |
5.00 |
80 |
100 |
130 |
180 |
4 |
省政府 |
50 |
80 |
25 |
4.00 |
5.00 |
100 |
125 |
150 |
205 |
5 |
教育厅 |
50 |
80 |
20 |
4.00 |
5.00 |
80 |
100 |
130 |
180 |
6 |
火车站 |
50 |
80 |
20 |
4.00 |
5.00 |
80 |
100 |
130 |
180 |
7 |
医学院 |
50 |
80 |
15 |
4.00 |
5.00 |
60 |
75 |
110 |
155 |
8 |
张公岭 |
50 |
80 |
30 |
4.00 |
5.00 |
120 |
150 |
170 |
230 |
9 |
桃花坪 |
50 |
80 |
16 |
4.00 |
5.00 |
64 |
80 |
114 |
160 |
10 |
市政府 |
50 |
80 |
16 |
4.00 |
5.00 |
64 |
80 |
114 |
160 |
备注:
1、台班是指用车7小时以内或者7小时为1个台班,3.5小时为半个台班;各车型台班价格:1、小轿车:500元/天,商务车600元/天,面包车700元/天,中巴车800元/天,大客车1000元/天;
2、单边距离在25Km以内按车型公里单价×公里数+起步价计算;超过25Km,50Km以内:小轿车按3.5元/Km×公里数,商务车按5元/Km×公里数计算;50Km或者50Km以上小轿车按3元/KM、商务车按4元/Km计算;
3、面包车、中巴车以及大客车市内短途按台班计算,其中面包车700元/天,中巴车800元/天,大客车1000元/天;长途:面包车4.5元/Km,中巴车5元/Km,大客车6元/Km;
4、等时费是指在任务途中需等候超过40分钟按1小时起算,以此类推,其中小轿车40元/小时,商务车50元/小时;
5、以上常用地点的实际公里数均以二里半校本部为起点,结算按实际地点以及产生的实际公里数进行结算。
财务处于2020年6月12日收到校行发财字[2020]1号文件《湖南师范大学公务交通经费管理办法》,针对过渡时期公务交通费的票据报销特议定:1、票据开具时间为本年6月13日之后的(含13日)严格执行新办法;2、票据开具时间为6月13日之前的按老办法报账。
答: A、会议费报销需要提供的附件(会议费原则上应打包一次性报销完)
①《湖南师范大学举(承)办会议审批表》(须相关负责人签批并盖章)(下载地址https://cwc.hunnu.edu.cn/info/1096/1236.htm);
②会议通知及会议日程安排;
③会议服务协议书等;
④参会人员签到表;
⑤会议费支出决算表。(须相关负责人签批并盖章)
B、培训费报销需要提供的附件
①上级部门批文(国培、省培班)或继续教育学院签字盖章的备案登记表(其他培训班);
②开支预算审批表及决算清单(须单位相关负责人签批并盖章);
③培训通知(时间、地点、参加人数等)并加盖承办方公章;
④参与人员签到表;
⑤委托承办的还须附合同或协议;
⑥分批报账提供分批报账台账(一式两份)(下载地址https://cwc.hunnu.edu.cn/info/1177/1479.htm)
(建议对培训班分次报销的时间跨度、次数加以限制,加强对台账的管理)
答:1单价1000元以上设备且使用年限1年以上的要进行固定资产登记。报销时需附固定资产验收单,购买进口设备,还须附委托代理进口协议、外贸合同、银行水单、国外发票、代理费发票、进口货物报关单、进出口货物免税证明、装箱单等相关附件;②无形资产,购买专用软件(所有权)须到固资处办理无形资产验收登记手续,报销时须附无形资产验收单。
为充分享受国家税费优惠政策,根据税务机关要求,学校各类设备采购业务须开具增值税专用发票。从2021年6月1日(开票日期)起开具的增值税普通发票不再受理。
答:专利申请及其他知识产权事务需提供专利收费依据文件。国家自然科学基金里不能列支专利维护费用。
答:①印刷费原则上要求通过公务卡结算或银行转账;②清单上请不要仅简单写“打印、复印、装订”几个字,须注明打印明细内容,单价、标准;③印刷费应及时结算报销,原则上时间跨度不超过3个月。
常见问题或注意事项:1、遇到连号发票或同一家单位同一天开具的多张发票,请不要接受,此类发票是审计、巡视、纪检检查重点关注的票据;2、不得将同一事项拆分报销,印刷费应一事一报,打包报销,不得化整为零拆分报销。
答:①出版图书,报账时附出版合同原件;②论文版面费,若未见刊则附录稿通知,见刊则打印杂志封面、目录及论文首页即可。编审费附收费通知。版面费和编审费都须附付款记录,收款单位须与开发票单位一致。
常见问题或注意事项:1、付款记录上收款人是私人名字(比如编辑、财务)的,须提供发票单位委托个人收费的授权委托书,委托书上须加盖单位财务专用章;2、收款单位与开具发票单位不一致时,不予报销。
答: A、出国批复要求:
①出国三个月以内,出国前应报国际交流合作处审批。报销时须提供《湖南省人民政府出国、赴港澳任务批件》复印件(已签署“已完成报到手续”)、校内公文审批单;
②三个月及以上出国,可附《湖南省人民政府出国、赴港澳任务批件》、校内公文审批单、邀请函、会议通知等相关资料;
③国家公派出国的,提供相关证明文件(例如录取通知书等)。
B、机票报销应提供行程单和登机牌;通过旅行社等代理购买机票的可以提供购买机票的发票,并在票面注明航班信息。
C、外文票据报销必须用中文注明支付内容等主要信息。
D、出国费报销应根据银行水单兑换率折算;无法提供的,按报账当月1号中国银行公布的外汇牌价折算。
常见问题或注意事项:国家公派出国访学,国家已资助差旅和生活等费用的,不能再凭票从科研经费里报销;与科研相关的出国经费,才能报销;因私出国的,不予报销。
答:详见《科研经费报销注意事项》https://cwc.hunnu.edu.cn/info/1105/1632.htm。
40.老师反映填写网报单时,“其他”子预算显示有210000元的指标,但是填写报销金额3000元时,系统显示超支,是不是系统出了问题?
答: 不是。所有科研课题按经费总额做子预算并下拨,“其他控制”表示未到账金额,该项目为负数时,说明该课题还有经费未到账,报销经费时按实际到账金额控制预算。例如下图课题(见图三),其他控制为-220000,虽然“其他”子预算显示有21万元的指标,但是实际到账项目余额只有2547.25元,因此填写报销金额3000元时,系统会提示超支。
图三
答:报销流程:发票上签字盖章→按发票内容分类整理票据,(印刷费发票、图书资料发票等)→填写网报单→系统预约→到财务处报账
填写网报单流程:登录财务处网站财务智慧管理平台→2、点击“极简报销”→3、点击“网上报销”→4、点击“填报申请单”→5、根据票据内容(图书资料费、打印费等)选择报销类型(一次选一项报销内容)→6、点击“开始填报网报单”→7、(根据票据签明的部门项目号)选择“经费项目”→8、填写报销金额、经办人、联系电话等→9、+“对私”→填报“收款人信息”→10、如果只有一项报销类型,请选⑤汇总提交;如果有两个及以上报销类型,请选③返回主页“继续其他报销类型填报”,重复第5步至9步→11、去申请单汇总,选择你要汇总的申请单,点击“去汇总”→12、“汇总并送审”→填写附件数量→13、打印审批单
同一专业学生请集中汇总送审预约,不接受单个学生的单独申报。
42.本院教师参加论文开题、论文预审、论文答辩可发放劳务费吗?
答:根据校行发研究生字【2019】7号文件精神,本院教师参加论文
开题、论文预审、论文答辩一般计入教师工作量,具体标准由学院确定,不再另外支付劳务费。
答:不可以。因公到常驻地以外出差可报销住宿费。市内开会根据会议通知凭票报销市内短交费,会务费。
44.理科纵向科研项目转为发展基金后还可以发放研究生劳务费么?
答:科研项目结题结余资金转发展基金后,可根据需要重新做小预算。小预算里如有劳务费预算即可开支劳务费,如无,则不能开支。
答:项目组成员是指项目申请时项目申报书中除项目负责人之外的项目研究人员或子项目负责人。
46.如果同行的是学校的一名老师,职称是教授,这样的情况可以算专家么?
答:专家与职称两个称号没有必然联系。关于专家,百度百科释义,专家是指在学术、技艺等方面有专门技能或专业知识全面的人;特别精通某一学科或某项技艺的有较高造诣的专业人士。发放专家咨询费见(第43条)。
答:临时工是指临时招聘人员,一种有聘用合同的人员,与“正式工”相对应。一种是在临时性、季节性岗位上使用的临时工(或称短工),两种都是暂时在单位工作的人员,不是在校在编人员。
答:真实、合法、准确、完整且没有过期的发票可以报销。
发票过期分为两种:一种是过了发票上注明的有效期;一种是过了报销时限,见(第4条)。
发票的真伪可通过税务局网站进行查询。
49.科研经费里给在校学生发劳务费走哪个小预算?校外人员可以发放绩效吗?
答:无论是项目组成员还是非项目组成员,只要是给帮助从事科学研究相关工作的学生所领酬费(劳务费)都走“劳务费”预算;
绩效支出的发放对象是项目负责人及项目组成员(学生、博士后除外)。
答:有,高级专业技术职称人员的专家咨询费标准为1500-2400元/人天(税后);其他专业人员的专家咨询费标准为900-1500元/人天(税后)。院士、全国知名专家,可按照高级专业技术职称人员的专家咨询费标准上浮50%执行。发放专家咨询费,须录入个人收入发放表,在发放表上写明职称、时间、地点、咨询内容,如专家为校外人员还需写明单位、联系方式;如专家为在职在校人员,还需写明 “非项目组成员”。
答:单张发票金额5000元及以上或者涉及人工费用的维修发票报销时,须到后勤管理处签字审核;单张发票金额5000元以下且不含人工费用的维修发票可直接在院系经费里报销,无需到后勤管理处签字审核。连号发票或同一家单位同一天开具的多张发票视同为单张发票。
52.学院或学科等经费里开支的维修工程项目款,是否只要学院或学科等部门签字审核就可以报销?
答:否。所有维修项目工程款都由后勤管理处归口管理,除学院或学科等出资部门签字以外还须报后勤管理处审核后才能报销。
答:不一样。团委组织的三下乡学生暑期社会实践,补助标准是40元/人/天,学生实习补助是10元/人/天。
答:出差住宿酒店时,如果入住办理的是刷卡预授权,取的是预授权pos条,请在离店时一定要去前台取得预授权完成的pos条。预授权完成的pos条应与发票金额一致。报销时提供预授权完成字样的POS条。
|
答:使用支付宝微信等移动支付方式付款时请留意收款方名字是否与发票上销售方名称相符(见图四),如不符请更换支付方式或者提供销售方出具的委托收款证明并加盖公章。
②在信息化办打印餐卡充值、结算明细表,并由信息化办签字盖章。
③信息化办签字盖章的明细表(视同结算票据),随培训班其他票据一起,按培训报账的要求,办理签批手续后报销,并冲抵前期餐卡充值借款。
答:为解决电子发票查重、查伪、规范报销入账归档的问题,我处推出电子会计档案系统,目前已开始试运行,操作指南详见“湖南师范大学财务处”微信公众号推文,公众号链接地址:https://mp.weixin.qq.com/s/33sUR6q1gumOqfo_NLkjDg
答:①劳务派遣公司开具发票:①单位自筹经费支付的,按部门经费审批流程签字、盖章。②学校经费支付的,除用人单位签章外,还需人事处主管领导、劳资科、社保科、职工培训交流中心签字、盖章。
2020年7月1日之前签订劳务派遣协议的需提供劳务派遣协议(有指定派遣人员姓名)或提供上岗协议(需人事处职工培训交流中心签字盖章);
2020年7月1日起签订劳务派遣协议的,需提交《湖南师范大学劳务派遣用工人员名单确认表》,此表上需加盖劳务派遣公司、二级单位、人事处公章,并有各自授权代表、人事处主管领导签字。
③ 酬劳发放明细表(劳务派遣公司提供,派遣公司、用工单位签字盖章)
答:需提供资料如下:①财务“收入申报”系统录制的发放表。②资发放明细表(非全职日制、劳务协议人员不用提供此表)。
此表按人事处社保科提供的样表制表。由二级单位自筹经费支出的,除按部门经费审批流程签字、盖章外,还需人事处社保科、职工培训中心签字、盖章;由学校经费支出的,需用工单位、人事处主管领导、劳资科、社保科、职工培训交流中心签字、盖章。
答:原则上不可以预发,只能按月发放,可以延迟发放。寒、暑假财务处业务值班均可办理工资发放业务。
答:不需要。资实处是我校设备的归口管理部门,报销设备购置款项时,不需在网上预约,将所有资产报账单据交由资实处,按如下程序办理即可:资产购置报账票据按规定审批→资实处办理固定资产登记手续→做好网报单→将所有报账票据和网报单一起交给资实处何小芳老师。(由何小芳老师统一交财务报账)。
答:户名:湖南师范大学
账号:584674799797
银行名称:中国银行长沙市湖南师范大学支行
BANK OF CHINA HUNAN NORMALUNIVERSITY BRANCH
SWIFT CODE:BKCHCNBJ970
银行地址:湖南省长沙市岳麓区麓山路36号
NO.36 LUSHAN ROAD, YUELU DISTRICT, CHANGSHA, HUNAN, CHINA
答:视频制作协议;竞赛用视频制作还须附参赛通知;线上课程的视频制作还需附教学计划。
答:1、正常登录:通过信息化中心管理的“信息门户”登录(解释和管理权限归信息化中心所有,联系电话88872002)
第一步:进入“湖南师范大学”官网首页;
第二步:点击右上角的“信息门户”;
第三步:通过图中的“密码管理”、“短信登录”进入信息门户;
第四步:在“我的应用”中点击“智慧财务”可进入“财务智慧管理平台”;
2、忘记密码:如果教师忘记“财务智慧管理平台”登录密码,请携带本人身份证到财务处308来重置密码。
答:请在城市商业银行菜单下拉选择。(见图一)
图一
3.银行代码中查不到“东莞农村商业银行股份有限公司常平支行”?
答:请在“农村信用联社中”菜单中下拉选择 。(见图二)
图二
4.在银行代码查询中找不到湖南湘江新区农村商业银行股份有限公司?
答;请在农村信用联社菜单中下拉选择(见图三)。如果在银行信息库确实搜索不到的,比如北京银行长沙有十五家,系统只有十三家,请老师询问银行代码后,我们会请网财公司导进系统,及时更新。
图三
5.填写网报单时,现在结算方式是不是只有对公和对私两种选项?两者有什么分别呢?如果是打到公务卡是选对私吗?
答:对公,是指对单位转账,对私是指对个人转账。支付到公务卡是对私转账。支付到代发账户是对公转账。
6.填写网报单时,本校在职人员和本校在读学生的银行信息需手工录入吗?
答:不需要。工资系统在职人员银行信息和收费系统在读学生银行信息每晚定时更新到网报系统中。填写网报单时可在数据库中模糊查询后选择。
答: 请联系财务处综合科系统管理员史少菲老师(电话88872463),系统管理员删除后,报账人再新增。
答:如果财务没收单,在审核网报单之前,可以撤销或者修改编辑。
答:以前已经付过款的往来单位,在单位账号中可模糊查询
答:在“我的申请单”里。
答:系统现有人员就不需要新增,无,则需新增。
答:点击收入申报(见图四)→代码管理→人员代码查询(见图五),按“姓名”或者“工号”关键字模糊查找,并认真核对身份证号码,避免同名同姓错误。
图四
图五
答:登录系统---点击“我的汇总单”,搜索你需要查询的网报汇总单号----查看状态
第一种状态:已收单-财务部门待审核,请老师耐心等待,如一周以后仍然处于“待审核”状态,请致电88872242(或88872967)核算科,提供网报单汇总号查询
第二种状态:已收单-财务部门审核通过,说明会计已制单,如果老师还未收到款项,请致电88872241出纳科,提供日期和凭证号查询,在详情页面查询。
第三种状态:财务部门审核退回,请按制单会计提出的退回原因修改网报,或者补充附件,然后再送审,送审后直接联系制单会计
答:请在地址栏旁边箭头处将“e”图标修改为绿色闪电“
”,选用极速状态(如下图所示)。
错误:![]()
正确:![]()
答:①查询网报单流水记录及状态(见图六),点击我的汇总单或者点击财务查询(试运行)→信息查询→网上报销查询(见图七);②查询经费明细账,点击财务查询(试运行)→经费查询(见图八)
图六
图七
图八
答:查不到银行时,可不选择银行类型,直接搜索,(见图九):
图九
录入银行账号时找不到开户行银行信息,统一选择该银行省行或者省行营业部(打电话问办卡银行),一般都能正常支付。银行代码不单独维护,公司定期从开户行省行科技部门提供的信息更新。
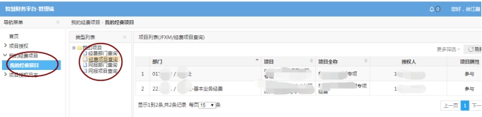
17.新系统里别人给的授权在哪里可以查?如何查询被授权项目余额、明细账?
答:⑴被授权人以自己的身份登录智慧平台,点击项目授权(见图十)→我的经费项目(见图十一),可查询到被授权部门项目。
图十
图十一
⑵ 被授权人以自己的身份登录智慧平台,点击财务查询(试运行)(见图十二)→经费查询→管理查询(见图十三),可查询到被授权项目余额(含在报金额(已填还未交财务处审核网报单的金额))及项目明细账。
图十二
图十三
答:点击填报申请单→随便选一个报销类型(见图十四)→选择经费项目(见图十五),可以查询到项目当前可用余额(见图十六)(项目余额减去在报金额(已填还未交财务处审核网报单的金额))。
图十四
图十五
答:查询本人借款详情,点击极简报销,再点击最右边“借款余额”。(见图十七)
图十七
答:在系统里搜索“师”,就可以搜索到该银行。
银行网点的名称,由各个银行决定,有按附近单位全称取名的,也有按简称取名的。中国银行师大支行的准确名称是中国银行湖南师范大学支行。湖南师范大学在建行网点的准确名称是建设银行长沙师大支行。建议如果不知道网店具体准确名称,尽量简略搜索,例如就搜一个“师”字。
21.报销一个事项,须从多个资金来源列支,如何做报销单?系统里“我的汇总单”状态显示“手工制单”时,如何查询凭证号码?
答:老师报销一个事项须从两个及以上项目负责人的部门项目号里列支(比如报销大型会议费,有科研经费、学科经费、学院经费等多个资金来源,且项目负责人不能授权给同一人),导致经办人无法汇总到一张报销单时,可以按资金来源做成多个报销单,在第一张报销单上注明 “合并报销单”字样交财务处做并单处理。
财务处做并单处理时,会选择一张报销单生成凭证,其他报销单手工制单。凡是手工制单的报销单,系统 “我的汇总单”状态里会显示“手工制单”几个字,凭证内码为空,如需查询,可以联系制单人。
22.报账老师因预约报账日临时有事,无法按时前来,可以重新预约吗?
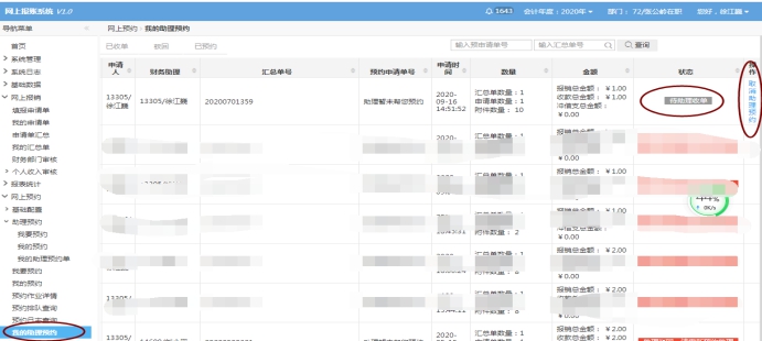
答:可以,预约报账日的第二天可以重新预约。预约过期,分两种情况操作:1、自行预约的,点击“我的汇总单” →取消送审→送审→预约(见图十八);2、助理预约的,助理点击“助理预约”→我要预约(见图十九)。
如您在原定的预约报账日无法前来交单,请务必在原预约报账日前一天下午4点以前点击“我的预约”→选择改签或取消预约,如多次出现预约成功后未至窗口报销的情况,财务处将会对您的预约权限做出限制预约处理。
图十八
图十九
23.报账老师已经预约助理送单报账,出现以下情况需要取消送审怎么办:a、发现约错了助理;b、发现还有手续未完成;c、票据有问题不再报销?
答:可点击“我的助理预约”,查看状态:
状态栏“待助理收单”为灰色(见图二十),说明助理还未收单,可自行点击“取消助理预约”→我的汇总单→取消送审;
状态栏显示以下三种情况,请直接联系助理,待他取消收单后再到我的汇总单→取消送审:a、 显示“待助理收单”为绿色(见图二十一),说明助理已收单,尚未预约,助理可以直接取消收单;b、显示“助理已预约,待分配”(见图二十二),说明助理已预约,还未分配,助理可以取消预约,再取消收单;c、显示“助理预约成功,待报账”(见图二十三),说明助理已预约成功,并已分配窗口,只能等预约过期,也就是预约报账日第二天,助理才能取消收单。
图二十
图二十一
图二十二
图二十三
答:点击“基础数据”→“我的往来单位” →新增单位/新增账号(见图二十四)
图二十四
答:报账老师在系统预约时,只要提示预约成功(见图二十五),即使没有收到短信,也请按预约报账时间前来财务处报账。
无论是助理预约还是自行预约,在您所选择的预约报账日前一天晚上8点财务处会发送短信告知您具体的时间,窗口和排序,您也可以关注“湖南师范大学财务处”公众号,在您所选择的预约报账日当天在公众号→业务查询→财务查询→公共信息→网报预约排队情况查看实时排队情况。

图二十五
26.报账老师反映,在我的汇总单中删除了一个单号,但是在申请汇总单仍旧出现删除的申请单,导致项目经费中的指标无法退回,这是什么原因,要怎么解决?
答:要在我的申请单删除才是彻底删除。点击我的汇总单→取消送审→取消汇总→点击我的申请单→删除。
27.填写申请单选择报销类型为受托项目或教材费伙食费等类型(见图二十六),再选择部门项目号时,界面显示粉色并提示“在费用类别经济科目“900/”下不可选(见图二十七),是怎么回事?
答:说明选择的报销类型和所选择的部门项目号不匹配,请重新选择。

图二十六
图二十七
28.有老师打电话反映,极简报销系统里他的项目不见了?该怎么办?
答:一般情况下有两种可能:一种可能是该项目余额为0,而系统默认只显示项目余额大于0的项目,去掉(图二十八)中的“√”,该项目就会显示出来;另一种可能是该项目是2014年以前科研课题,没有做明细预算,项目被封存。被封存的项目,请联系科技处、社科处等相关职能部门,做好明细预算启封后,项目就会显示出来。
图二十八
29.极简报销系统录入银行信息时,如果名字中包含一个点(例如”****提·**塔尔”)该怎么录入?
答:请在中文输入法下,点击键盘tab键上面那个~键(图三十)。
图二十九
答:登录财务智慧平台→财务查询试运行(图三十)→公共查询(图三十一)→已到账待确认收入查询。可通过到账时间、来款摘要等关键字查询来款信息。请还未办理入账的老师携带身份证复印件、来款的相关证明合同或协议以及入账报告至财务处出纳科办理入账手续。如需他人代办(请携带本人身份证复印件、经办人身份证复印件、授权办理委托书及来款的相关证明合同或协议、入账报告(款项经费到账后该如何处理?https://cwc.hunnu.edu.cn/info/1106/1286.htm )。
图三十
图三十一
答:从2021年开始,人员经费代发失败须重付业务分两部分:2021年(当年)代发失败业务在出纳科办理;2020年及以前年度往年代发失败业务转至会计科办理。
①出纳科办事流程:请在财务处网站下载中心下载并填写《2021人员经费代发重付申请表》,由原经办人签字并加盖单位公章(电子公章无效),打印,附原经办人身份证复印件,拍照,上传至指定邮箱2131900986@qq.com。下载地址:2021人员经费代发重付申请表-下载中心-湖南师范大学财务处 http://cwc.hunnu.edu.cn/ActionArticle!display.action?articleId=299
②会计科办事流程:责任人(经办人):登录极简报销系统填写网报单→送审网报单(无须打印)→上传附件“往年人员经费重付申请表”→会计科根据特定经费项目号定期筛选经办人送审的网报单→打印网报单、重付申请表→制单复核→出纳科付款。详见群文件“线上申请重付往年代发失败人员经费操作手册”https://cwc.hunnu.edu.cn/info/1105/1842.htm
答:校外专家还须提供其他人员信息表。
答:不需要。可汇总在一张表上。
答:我校现有的人员经费代发仅限于境内借记卡,境外卡、贷记卡、信用卡、公务员卡均不能代发。
答:因为非中行代发需填写收款人账户开户行代码,所以请中行与非中行分开制表,不要汇总到一个网报单上。所有非中行的可以汇总制在一张表上
答:详见《关于新个人所得税法预扣预缴等相关问题的解答》(本群文件)。
从2019年1月1日起,新个人所得税法开始全面施行。
(1)学校统发工资、津贴及在职人员的通过“财务智慧管理平台——收入申报——个人收入综合管理系统”发放的各项收入均不再单笔计算个人所得税。
于每月月末汇总当月工资津贴及其他工资外应税收入后,由国家税务总局金税三期系统按照“2019年新个人所得税法”规定,合并个人综合所得(4类:工资薪金所得、劳务报酬所得、稿酬所得、特许权使用费所得)进行预扣预缴个人所得税,所款税款于下月的工资发放总表中以“扣税”项目单列并实际扣发。
(2)长期临聘人员(须与人事部门签订劳务合同)、校外非雇佣人员(未与学校签订劳务合同)、学生劳务仍旧对单笔收入实时预扣预缴个人所得税。
(3)如遇当月多笔发放,“个人收入综合管理系统”系统会自动提示做“税务异动”按月合并处理。
(4)针对部分老师咨询,特别说明:“个人收入综合管理系统”自2016年1月1日起,为配合国家推行“金税三期”升级改版时,就不再支持通过实发金额反算应发金额。
答:中华人民共和国个人所得税法,个人所得税以所得人为纳税人,以支付所得的单位或者个人为扣缴义务人。
答:劳务报酬;特许权使用费;利息、股息、红利所得;财产转让所得以及工资、薪金所得;稿酬所得;经营所得;财产租赁所得;偶然所得。
答:居民个人综合所得居民个人取得工资、薪金所得;劳务报酬所得;稿酬所得;特许权使用费所得等四项所得为“综合所得”,按照纳税年度合并计算个人所得税;
个人所得税税率表一(工资薪金所得适用)
级数 |
累计预缴应纳税所得额 |
税率 |
速算扣除数 |
1 |
不超过36000元的 |
3% |
0 |
2 |
超过36000元至144000元的部分 |
10% |
2520 |
3 |
超过14000元至300000元的部分 |
20% |
16920 |
4 |
超过300000元至420000元的部分 |
25% |
31920 |
5 |
超过420000元至660000元的部分 |
30% |
52920 |
6 |
超过660000元至960000元的部分 |
35% |
85920 |
7 |
超过960000的部分 |
45% |
181920 |
居民个人综合所得以每一纳税年度的收入额减除除费用60000元以及专项扣除,专项附加扣除和依法确定的其他扣除后的余额,为应纳税所得额。
应纳税所得额=收入额-费用-专项扣除-专项附加扣除-依法确定的其他扣除。
专项扣除、专项附加扣除和依法确定的其他扣除,以居民个人一个纳税年度的应纳税所得额为限额;一个纳税年度扣除不完的,不结转以后年度扣除。
5.居民个人综合所得的“收入额”包括哪些内容?减除费用包括哪些?
对符合条件的征税项目全员适用,在考虑了个人基本生活支出情况后,税法设置的最为基础的生计扣除(定额)标准。
答:个人所得税专项附加扣除
在施行综合和分类税制的初期,个人所得税的专项附加扣除项目包括:
子女教育支出
继续教育支出
大病医疗支出
住房贷款利息或者住房租金支出
赡养老人支出
答:工资薪金所得(其综合所得的收入额为个人因任职或者受雇而取得的工资、薪金全额)
第十一条 居民个人取得综合所得,按年计算个人所得税;有扣缴义务人的,由扣缴义务人按月或者按次预扣预缴税款;需要输汇算清缴的,应当在取得所得的次年三月一日至六月三十日内办理汇算清缴。预扣预缴办法由国务院税务主管部门制定。
扣缴义务人向居民个人支付工资薪金所得时,应当按照累计预扣法计算预扣税款,并按月办理全员全额扣缴申报。
扣缴义务人在纳税年度内,预扣预缴税款时,以纳税人在本单位截至当前月份累计工资薪金所得收入额减除纳税人申报的累计免税收入、累计基本减除费用、累计忖项扣除、累计专项附加扣除和依法确定的其他扣除后的余额为累计预扣预缴应纳税所得额,适用工资薪金所得预扣预缴税率表,计算累计应预扣预缴税额,再减除累计已预扣预缴税额,其余额作为本期应预扣预缴税额。
余额为负值时,暂不退税。纳税年度终了后余额仍为负值时,由纳税人通过办理综合所得年度汇算清缴,多退少补。
本期应预扣预缴税额=(累计预扣预缴应纳税所得额×税率-速算扣除数)-累计减免税额-累计已预扣预缴税额
累计预扣预缴应纳税所得额=累计收入-累计免税收入-累计减除费用-累计专项扣除-累计专项附加扣除-累计依法确定的其他扣除
其中:累计减除费用,按照5000元/月乘以纳税人当年截至本月在本单位的任职受雇月份数计算。
工资薪金所得预扣预缴税率表
级数 |
累计预缴应纳税所得额 |
税率 |
速算扣除数 |
1 |
不超过36000元的 |
3% |
0 |
2 |
超过36000元至144000元的部分 |
10% |
2520 |
3 |
超过14000元至300000元的部分 |
20% |
16920 |
4 |
超过300000元至420000元的部分 |
25% |
31920 |
5 |
超过420000元至660000元的部分 |
30% |
52920 |
6 |
超过660000元至960000元的部分 |
35% |
85920 |
7 |
超过960000的部分 |
45% |
181920 |
实例解析:
例1:某职工2019年每月应发工资均为10000元,每月减除费用5000元,“三险一金”等专项扣除为1500元,从1月起享受子女教育专项附加扣除1000元,没有减免收入及减免税额等情况,以前三个月为例,应当按照以下方法计算预扣预缴税额:
1月:(10000-5000-1500-1000)×3% =75元;
2月:(10000×2-5000×2-1500×2-1000×2)×3%-75 =75元;
3月:(10000×3-5000×3-1500×3-1000×3)×3%-75-75 =75元;
依次计算可知,某职工2019年全年累计预扣预缴应纳税所得额30000元(10000*12-60000-1500*12-1000*12),适用3%的税率(见个人所得税预扣率表二第1级),因此各月应预扣预缴的税款都为75元,全年应交个税=30000*3%=900元(75*12=900元)。
例2:某2019年每月应发工资均为30000元,每月减除费用5000元,“三险一金”等专项扣除为4500元,享受子女教育、赡养老人两项专项附加扣除共计2000元,没有减免收入及减免税额等情况。
张某工资按月应预扣预缴个税:
1月:(30000-5000-4500-2000)×3% = 555元;
2月:(30000×2-5000×2-4500×2-2000×2)×10%-2520(速算扣除数)-555(1月已扣个税)=625元;
3月:(30000×3-5000×3-4500×3-2000×3)×10% -2520 -(555+625)(1至2月已扣税) =1850元;
4月至7月:依次计算,每月扣税均为1850元;
8月:(30000×8-5000×8-4500×8-2000×8)×20%-16920-(555+625+1850×5)(1至7月已扣税)=2250元;
9月:(30000×9-5000×9-4500×9-2000×9)×20%-16920-(555+625+1850×5+2250)(1至8月已扣税)=3700元;
10月至12月:
依次计算,每月扣税均为3700元;
1月至12月共计预扣预缴个税=555+625+5×1850+2250+4×3700=27480元。
上述计算结果表明,由于2月份累计预扣预缴应纳税所得额37000元,已适用10%的税率(超过36000元,按个人所得税预扣率表二第2级扣缴),因此2月起应预扣预缴个税有所提高;8月份累计预扣预缴应纳税所得额148000元,已适用20%的税率(超过144000元,按个人所得税预扣率表二第3级扣缴),因此8月起应预扣预缴个税进一步提高。
张某工资按年计算应扣应缴个税:
张某2019年全年应纳税所得额为222000元(30000*12-60000-4500*12-2000*12)元,适用20%的税率,全年应交个税为27480元(222000*20%-16920)。
答:劳务报酬所得(其综合所得的收入额为个人从事劳务取得的劳务报酬收入的80%)。
扣缴义务人按次/按月预扣预缴居民个人综合所得中的劳务报酬所得、稿酬所得、特许权使用费所用。
预扣预缴时,劳务报酬所得、稿酬所得、特许权使用费所得每次收入不超过4000元的,费用按800元计算;每次收入4000元以上,费用按20%计算。
附表二 劳务报酬所得预扣率表
级数 |
预扣预缴应纳税所得额 |
预扣率 |
速算扣除数 |
1 |
不超过20000元的 |
20% |
0 |
2 |
超过20000元至50000元的部分 |
30% |
2000 |
3 |
超过50000元的部分 |
40% |
7000 |
例3:2019年3月,李某取得劳务报酬所得2000元,则这笔所得应预扣预缴税额 = 预扣预缴应纳税所得额 × 预扣率 - 速算扣除数 = (2000-800)×20% - 0 =240元。
例4:张某取得劳务报酬所得80000元,则这笔所得应预扣预缴税额=预扣预缴应纳税所得额×预扣率-速算扣除数= (80000-80000×20%)*40%-7000=18600元。
答:稿酬所得(个人取得的稿酬收入的56%; 以收入减除20%费用(1-20%)后再减按70%计算为收入额)
例5:张某取得稿酬所得40000元,则这笔所得应预扣预缴税额为:
应预扣预缴税额 = 预扣预缴应纳税所得额 × 20% =[(40000 - 40000 × 20%)×70%] * 20% = 4480元。
答:特许权使用费所得(个人取得的特许权使用费收入的80%;收入减除20%的费用后的余额为收入额)
特许权使用费用所得应预扣预缴税额=预扣预缴应纳税所得额×20%
12.非居民(如未与学校签订合同,由学院、各部门自行聘请的临时性外教)的特殊人员如何计税?
答:非居民纳税人包括两类:
1.在中国境内无住所又不居住的个人
2.在中国境内无住所且一个纳税年度内在中国境内居住累计不满183天的个人。
中华人民共和国个人所得税法第十一条第三款:
非居民个人取得工资、薪金所得,劳务报酬所得,稿酬所得和特许权使用费所得,有扣缴义务人的,由扣缴义务人按月或者按次代扣代缴税款, 不办理汇算清缴。
答:分类所得代扣代缴
扣缴义务人支付利息、股息、红利所得,财产租赁所得,财产转让所得或者偶然所得时,应当依法按次或者按月代扣代缴税款。
答:自然人出租不动产政策规定:
其他个人采用一次性收取租金形式出租不动产取得的租金收入,可在对应的租赁期内平均分摊,分摊后的月租金收入未超过10万元的,免征增值税。
举例说明
问:其他个人在2018年采取预收款方式出租不动产,一次性取得2018、2019年两年的预收租金收入,月均租金为5万(超过3万免税标准),已按规定全额缴纳增值税,免税标准调整后,纳税人提出能否申请退还2018年对应的增值税税款?
答:不能退税,由于纳税人提供租赁服务采取预收款方式的,其纳税义务发生时间为收到预收款当天,该纳税人纳税义务在2018年已经发生,而4号公告自2019年1月1日起执行,故该纳税人不适用新的免税标准。
自然人出租不动产可享受多项税收优惠(湖南税务2019.8.8)
相关税费及优惠一览表
增值税 |
征收率 |
5% |
优惠 |
自然人出租住房减按1.5%征收增值税; 自然人采取一次性收取租金的形式出租不动产,取得的租金收入可在对应的租赁期内平均分摊,分摊后的月租金收入不超过10万元的,免征增值税 |
|
城市维护建设税 |
税率 |
市区7%,镇5%,不在市区,县城或1% |
优惠 |
增值税免征的,城市维护建设税相应免征; 增值税不免征的,减半征收城市维护建设税 |
|
教育费附加 |
征收率 |
3% |
优惠 |
月租金收入不超过10万元的,免征教育费附加的, 月租金收入超过10万元的,减半征收教育费附加 |
|
地方教育附加 |
税率 |
2% |
优惠 |
月租金收入不超过10万元的,免征教育费附加的, 月租金收入超过10万元的,减半征收教育费附加 |
|
房产税 |
税率 |
12% |
优惠 |
自然出租住房优惠税率4; 自然人出租不动产,不区分用途,减半征收房产税 |
|
城镇土地使用税 |
税率 |
按照不同的地段等级适用相应的税额标准 |
优惠 |
对自然人出租非住房,减半征收城镇土地使用税, 对自然出租住房,不区分用途,免征城镇土地使用税 |
|
印花税 |
税率 |
0.1% |
优惠 |
对自然人出租、承租住房签订的租赁合同,免征印花税; 对自然出租、承租非住房签订的租赁合同,减半征收印花税 |
|
个人所得税 |
税率 |
按照“财产租赁所得”,适用项目20%税率 |
优惠 |
对个人出租住房取得的所得关 10%的税率征收个人所得税 |
今年,国家大力推行减税降费,出台了一系列优惠政策。自然人出租不动产可以享受的税收优惠。
疑难问答:
1. 纳税人有多套房屋出租,收取的租金是分别适用月租金不超过10万元免征增值税的政策吗?
自然人采取一次性收取租金的形式出租不动产,取得的租金收入可在对应的租赁期内平均分摊,分摊后的月租金收入不超过10万元的,免征增值税。因此自然人采取一次性收取租金形式出租不动产,无论是单套或是多套房,只要是对应的租赁期内平均分摊后的月租金收入合计未超过10万元,均可按以上规定免征增值税。
2. 自然人出租不动产,月租金收入不超过10万元,是否可以向税务机关申请代开增值税专用发票?
根据《中华人民共和国增值税暂行条例》第二十一条规定,发生应税销售行为适用免税规定的,不得开具增值税专用发票。如需申请代开增值税专用发票,则不得适用免税规定。
3. 自然人出租住房,房产税应该如何征收?
自然人出租住房,房产税的优惠税率为4%,同时可以减半征收,也就是按照2%征收房产税。
涉税实务:
A先生2019年7月将一套位于长沙城区的60平方米商铺出租给B先生,租期半年,一次性收取了半年的租金60000元。该商铺所在地适用的城镇土地使用税年税额为8元每年方米。请问:A先生这套商铺2019年下半年可以减免多少税费?
解答:
增值税
A先生采取一次性收取租金的形式出租不动产,分摊后的月租金收入为10000元,免征增值税。
60000+(1+5%)×5%=2857.14元(免征)
附加税(费)
该商铺免征增值税,因此三项附加税(费)同样免征。
2857.14×(7%+5%=2%)=342.86元(免征)
房产税
自然人出租商铺,按照12%的税率减半征收房产税。
60000×12%×50%=3600元(减半征收)
城镇土地使用税
自然人出租商铺,减半征收城镇土地使用税。
8×60×(6/12)×50%=120元(减半征收)
印花税
对自然人出租、承租商铺签订的租赁合同,减半征收印花,税。
60000×0.1%×50%=30元(减半征收)
综上,A先生2019年下半年出租该套商铺,增值税、附加税(费)免征,房产税、城镇土地使用税、印花税减半征收,个人所得税照章征收,享受各项优惠共减免税票6950元。
答:全年一次性奖金是指行政机关、企事业单位等扣缴义务人其全年年经济效益和对雇员全年工作业绩的综合考核情况,向雇员发放的一次性奖金。也包括年终加薪、实行年薪制和绩效工资办法的单位根据考核情况兑现的年薪和绩效工资。
雇员取得除全年一次性奖金以外的其它各种名目奖金,如半年奖、季度奖、加班奖、先进奖、考勤奖等,一律与当月工资、薪金收入合并,按各法规定缴纳个人所得税。
计算公式为:应纳税额=全年一次性奖金收入×适用税度-速算扣除数
按月换算后的综合所得税率表
级数 |
全月应纳税所得额(含税) |
税率 |
速算扣除数 |
1 |
不超过3000元的 |
3% |
0 |
2 |
超过3000元至120000元的部分 |
10% |
210 |
3 |
超过12000元至25000元的部分 |
20% |
1410 |
4 |
超过25000元至35000元的部分 |
25% |
2660 |
5 |
超过35000元至55000元的部分 |
30% |
4410 |
6 |
超过55000元至80000元的部分 |
35% |
7160 |
7 |
超过80000元的部分 |
45% |
15160 |
居民个人取得全年一次性奖金,也可以选择并入当年综合所得计算纳税。
自2022年1月1日起,居民个人取得的全年一次性奖金,应并入当年综合所得计算缴纳个人所得税。
例6:2019年1月,学校给某职工发放2018年年终绩效工资35760元,某职工1月年终绩效工资应缴纳个人所得税计算如下:
(1)确定适用税率和速算扣除数:以全年一次性奖金收入(年终绩效工资)35760元除以12个月得到的数额为2980元,确定的适用税率是3%,速算扣除数为零。
(2)应纳税额=全年一次性奖金收入(年终绩效工资)×适用税率-速算扣除数=35760*3%=1072.8元。
例7:2019年1月,学校给某职工发放2018年年终绩效工资150000元,某职工1月年终绩效工资应缴纳个人所得税计算如下:
(3)确定适用税率和速算扣除数:以全年一次性奖金收入(年终绩效工资)150000元除以12个月得到的数额为12500元,确定的适用税率是20%,速算扣除数是1410。
(4)应纳税额=全年一次性奖金收入(年终绩效工资)×适用税率-速算扣除数=150000*20%-1410=28590元。
答:“免征或减征个人所得税”第5条、根据《财政部、国家税务总局关于个人所得税若干政策问题的通知》(财税字[1994]20号规定:达到离休、退休年龄,但确因工作需要,适当延长离休退休年龄的高级专家(指享受国家发放的政府特殊津贴的专家、学者和中国科学院、中国工程院院士),其在延长离休退休期间的工资、薪金所得,视同退休工资、离休工资免征个人所得税。
其中:
(1)对高级专家从其劳动人事关系所在单位取得的,单位按国家有关规定向职工统一发放的工资、薪金、奖金、津贴、补贴等收入,视同离休、退休工资,免征个人所得税;
(2)除上述(1)项所述收入以外各种名目的津补贴收入等,以及高级专家从其劳动人事关系所在单位之外的其他地方取得的培训费、讲课费、顾问费、稿酬等各种收入,依法计征个人所得税。
答:(1)对存在多月收入累计一次性发放的,作为当月收入合并计算个人所得税(分月分摊计算个人所得税的方式不可再用)
(2)校外非聘用人员的劳务报酬,在当月内合并计税。
(3)各单位在发放可免税收入时,报账员在做好个人收入发放表后携带证明材料报财务处税管员核定,税管员核定后再进行报账。没有及时申报的,视同为应税收入。
(4)各单位及时到财务处税管员处报备本单位超过退休年龄未退休人员的人员信息,及本单位残疾(拥有残疾证)人员信息。
(5)每个月的最后5个工作日,财务处不接受人员经费的报账,以免产生跨月重复计税情况。
(6)各教职工在每月最后5个工作日内通过财务智慧管理平台及手机客户端及时查看本人工资及其他收入明细。对收入有疑问的及时联系发放单位进行确认。
(7)各院(系)课酬发放需要做好税务规划
答:开票,款项到达学校银行账户后开具票据;预开票,款项未到学校银行账户时,预借票据。
开票、预开票,均需携带本人身份证原件及复印件、相关合同或协议、文件复印件,在财务处出纳科领取银行单据,在会计科办理入账手续。预开票,还需同时携带借票税金手续或已缴存票据税金单据。
科研经费入账流程:
文科:持出纳科领取的回单至财务处3楼303办公室,找社科处刘碧华老师确认项目号后,再至财务处二楼报账大厅会计科2号窗口办理入账手续;
理科:持出纳科领取的回单分别至:
⑴横向:财务处4楼408办公室找科技处张麓泉老师确认项目号后,
⑵基金:财务处4楼402办公室找科技处艾建平老师确认项目号后,
⑶计划:财务处4楼401办公室找科技处罗昆煜老师确认项目号后,
再至财务处二楼报账大厅会计科2号窗口办理入账手续。
预开票,款项未到学校银行账户,携带本人身份证原件及复印件、相关合同或协议、文件复印件,在财务处网页下载中心下载、填写《湖南师大预开票申请表》,经管理部门、财务处负责人审批后,在财务处会计科计税借税、出纳科办理预开票(收据)手续,如无项目可借税,需先行缴存票据税金至学校银行基本账户,并将缴款或转账单据交至会计科。
答: 如未收到合同款项,需预开发票或者收据,请本人身份证原件及复印件在财务处-下载中心-预开票申请表下载申请表并填写好,科研项目需社科处或科技处签字、盖章,非科研项目需借票申请人所在二级单位签字、盖章,财务处负责人签字,增值税普通发票由会计计税、盖章后到出纳科办理预开票手续,增值税专用发票还需财务处综合科税管员签字。
根据税务局金税三期系统要求,开票即缴税,因此预开发票需计税金。
计税有三种方法:1、申请人按会计计算的税金金额现金缴款至湖南师范大学,银行账号:584674799797,开户行:中国银行长沙市湖南师范大学支行。凭中国银行的现金缴款单至财务处办理预开票事宜。合同款项到账后返还垫付税金。2、申请人填写借款单,纵向课题税金在本人其他纵向课题科研经费中、横向课题税金在本人其他横向科研课题经费中按会计计算的税金金额办理借税,合同款项到账后冲销借支。3、二级单位预开票,可填写借款单在本单位自有资金中按会计计算的税金金额办理借税,合同款项到账后冲销借支。
预开票申请表-下载中心-湖南师范大学财务处
http://cwc.hunnu.edu.cn/ActionArticle!display.action?articleId=247
http://cwc.hunnu.edu.cn/ActionArticle!display.action?articleId=227
https://cwc.hunnu.edu.cn/info/1177/1862.htm
答:各单位如有会议、三个月内短期培训、场地使用费等收款业务,需要批量开具增值税发票(3张以上),请提前一周报备财务处档案科(电话:88872243),报备后在财务处办理批量借票手续。具体流程如下:
①在财务处三楼305室档案科填写《领用收据许可证》,财务一支笔签字并加盖本单位公章,财务处主管档案科副处长签批。
②凭《领用收据许可证》(已审批)在财务出纳科借取开票、收款设备:税盘、对应的笔记本电脑、打印机、POS机。
③《领用收据许可证》(已审批)和金税盘到档案科(305室)
办理增值税普通发票领用、水片分发票据号段、发票盖章手续。
④收款开票结束后,在开票系统中退还余票,打印开票报表(一式三份),核对收款、开票金额无误。
⑤废票据拍照、上传到档案科(305室)指定位置。
⑥通过银行汇款来的和POS机刷卡收费的收入,到出纳科领取银行单据。银行单据金额=开票金额(记账联)=POS机刷卡汇总金额,会计科现场报账处办理入账手续(凭税务报表)。会计审核无误后在税务报表上签章(这一份要返回305室)。
⑦凭会计审核签章的开票报表在档案科(305室)办理还票(存根联)、退票(空白余票)事宜。
⑧归还设备:税盘、对应的笔记本电脑、打印机、POS机、一份税务报表(留当月下一个用户剔除数据用)至财务处出纳科。
答:按照公务卡管理规定,公务卡存入现金后,支取现金不超过存入现金数(需报账支付三天后)时是免费的。
公务卡是银行贷记卡,贷记卡透支现金当时要收1%的手续费,还要每天再收0.05%的利息。
财务处报销后,需要第二天上午才能把头一天报销的支票送存银行,银行收到支票后才能还入每人的公务卡,银行还有个结算过程,需要一天的时间,
因此公务卡报销的钱要第三天才能到卡使用,如果报销了2000元,报销后当天就去自动取款机上取了,这样就是透支2000元钱,手续费20元,第三天学校还2000元,占用两天收4元的利息。
手续费加利息24元就要等下一次还款会体现,如不还款就是不良记录,如还款还要加收利息。所以一定要避开这个误区,报销三天后再取现金。公务卡刷卡消费是不收其他费的。另外,有的老师在报销前自己刷卡消费了一定的资金,报销后以为存入了现金就可以免费取现金了,如透支现金还是要收费的:
例如,我们刷公务卡消费了3000元,报销票据后财务处给存入4000元,这4000元内只有支出1000元现金是免费的,超过部分还是要收手续费和利息的。因为银行贷记卡是先收回透支的资金,余下的才是可支现金的额度。
答:使用公务卡用于个人消费的部分;持卡人透支提取现金所产生的手续费、利息等;因持卡人个人原因,未能在公务卡免息期内申请报销,所造成的罚息和滞纳金等;因持卡人个人保管不慎或遗失等原因,导致公务卡被盗刷卡所形成的支出和损失;其他不符合财务管理规定和要求或超出标准的消费。
答:公务卡操作可概括为:“银行授信额度,个人持卡支付,单位报销还款,财政实施监控”。湖南财政一体化信息系统中可逐笔查询公务卡消费时间、消费地点、消费金额。因此,实行公务卡结算,既方便教职工公务消费行为,减少现金借款,防范现金支付风险,也便于财政部门对公务消费行为实行动态监控。
答:新办公务卡的教职工应携带身份证与公务卡及时到财务处结算科进行公务卡确认,公务卡信息通过国库支付系统确认后方可进行报账。
答:填写字模表(字模表可在群文件中下载),相关负责人签字加盖公章一式两份,一份交至财务处2楼玻璃房信息科录入字模,一份交308综合科。(模板见下图)
科研项目负责人签字模板 |
|||||||
项目负责人(手写签名): 科技处(社科处)负责人签字(公章): |
|||||||
序号 |
项目名称 |
项目经费账号 |
科研编码 |
||||
1 |
|||||||
2 |
|||||||
填报说明: |
|||||||
1.本表可供多个新增项目一起使用。 |
|||||||
2.项目经费账号请登录财务智能管理平台查询,格式为部门+项目代码,如“531120-****”。 |
|||||||
3.科研编码1格式如“数1601**”。 |
|||||||
4.项目负责人必须亲笔签字。 |
|||||||
5.本表由科技处、社科处审核盖章后,交财务处信息科(2楼报账大厅玻璃房)。 |
|||||||
湖南师范大学学科经费“一支笔”签字确认表 |
|||||||
单位名称(加盖公章): |
|||||||
审批经费项目名称: |
经费账号: |
||||||
学科负责人签名式样: |
学院院长签名式样: |
||||||
学科财务“一支笔”签名式样: |
发规处“一支笔”签名式样: |
||||||
备注: |
|||||||
湖南师范大学二级单位财务“一支笔”确认表 |
|||||||
单位名称(加盖公章): |
|||||||
党委“一把手”签名式样: |
行政“一把手”签名式样 |
||||||
财务“一支笔”签名式样 |
审批经费项目 |
||||||
备注: |
|||||||
科研项目录入字模时特别注意:所有老师第一个科研项目在报账前均须提交《科研项目负责人签字模板》,同一项目负责人,以前的科研项目已有字模的,只需到财务处2楼玻璃房或者电话联系(88872828)尹金石科长,将以前的字模关联到新项目即可。
答: 各二级单位提交查账的书面材料(包括查询的理由、用途、时间段、部门以及项目号等内容),财务处分管处领导签字同意后,交信息科负责查询打印。
答:科研项目负责人凭结题报告、科研项目的部门以及项目号到信息科打印科研项目结题明细账,原则上只打印1次1份,再到会计科加盖公章。



